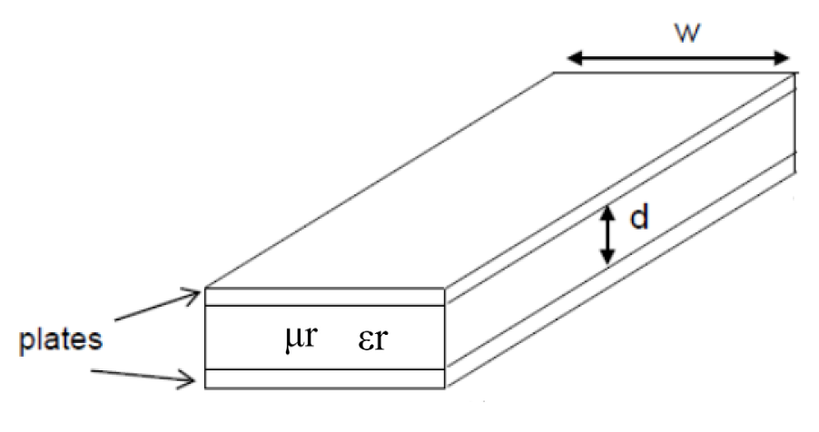
PARALLEL-PLATE LINE CALCUALTOR
Formulae Used:
- w = Width of the Plate
- d = Plate separation
- εr = relative dielectric constant
- μr = relative permeability
- δ = Skin Depth
- σCond = Conductivity of the Conductor
- σDiel = Conductivity of the Dielectric
Input
Made by Adwait, Smriti, Ajay, Rahul, Kirti, Shreyas and Saif under guidance of Prof. Vandana Satam